| Elevator Bucket-------Ricemilling Bucket /Inductive Bucket /Drying Bucket |
 |
 |
 |
| ricemilling bucket |
inductive bucket |
drying bucket |
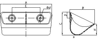
| |
| ricemilling bucket |
 |
| With unique discharge, the material from the latter bucket flows along the runner of the base of the first bucketcome into the discharge outlet. The material are discharged slowlygently, thereby reducing the broken percentage in the process of material elevating. |
| Usage: |
1.Suitable for low-speed gravitational discharge. 2.Recommended minimum bucket spacing: the height of the bucket back wall "C"+2mm. 3.Recommended elevator velocity 0.5~0.8m/s. 4.Recommend using "Capacity (L)" as usable capacity for engineering purpose. |
 |
| Model |
A(mm) |
B(mm) |
C(mm) |
D(mm) |
E(mm) |
No.of Holes |
Dia.of Holes |
Capacity(L) |
| DM1010 |
105 |
110 |
129 |
48 |
50 |
2 |
9 |
0.7 |
| DM1310 |
138 |
110 |
128 |
37 |
80 |
2 |
7 |
0.88 |
| DM1413 |
143 |
143 |
172 |
52 |
93 |
2 |
9 |
1.6 |
| DM1715 |
175 |
156 |
176 |
52 |
113 |
2 |
9 |
2.4 |
| DM2017 |
207 |
179 |
194 |
60 |
139 |
2 |
9 |
3.6 |
| DM2313 |
230 |
138 |
136 |
44 |
125 |
2 |
7 |
2.21 |
| DM2921 |
294 |
210 |
200 |
55 |
113 |
3 |
9 |
6.2 | |
| inductive bucket |
 |
| It’s suitable for chain conveyors mixed by verticalhorizontal transmission. It’s widely used in the seedfood processing industry. |
 |
| Model |
A(mm) |
B(mm) |
C(mm) |
Capacity(L) |
| DL2412 |
246 |
122 |
60 |
1.2 |
| DL2619 |
260 |
190 |
78.5 |
2.34 |
| DL3115 |
310 |
150 |
75 |
2.3 |
| DL3219 |
330 |
200 |
110 |
3.19 |
| DL3319 |
330 |
198 |
103 |
4 |
| DL3821 |
380 |
213 |
125 |
4.8 |
| DL4013 |
406 |
133 |
69 |
2 |
| DL6323 |
632 |
236 |
120 |
11 | |
| drying bucket |
 |
| It’s suitable for drying elevator in the grain handling industry. |
| Usage: |
1.Suitable for high-speed centrifugal discharge. 2.Recommended minimum bucket spacing: width of the bucket projection "B"+50mm. 3.Recommended elevator velocity ≤3.5m/s. 4.Recommend using"Z-Y+10%" as usable capacity for engineering purpose. |
| Specification: |
 |
| Model |
A(mm) |
B(mm) |
C(mm) |
D(mm) |
E(mm) |
No. of Holes |
Hole Diameter |
Capacity(L) (X-Y) |
Capacity(L) (Z-Y)+10% |
Capacity(L) (Z-Y) |
| DH1106 |
116 |
62 |
62 |
13 |
63 |
2 |
7 |
0.17 |
0.11 |
0.1 |
| DH1406 |
143 |
64 |
71 |
19 |
76 |
2 |
7 |
0.22 |
0.18 |
0.16 |
| DH1409 |
147 |
94 |
87 |
20 |
96.5 |
2 |
7 |
0.42 |
0.21 |
0.19 |
| DH1808 |
189 |
87 |
79 |
20 |
100 |
2 |
7 |
0.53 |
0.37 |
0.34 |
| DH1910 |
197 |
100 |
87 |
17 |
65 |
3 |
7 |
0.74 |
0.34 |
0.31 |
| DH2512 |
255 |
123 |
116 |
30 |
141 |
2 |
9 |
1.4 |
1.1 |
1 | |